支付宝、微信退款接入
0. 概述
在 yudao-module-pay 模块的 demo 模块,我们提供了一个 退款 接入的示例,它已支持支付宝、微信的所有退款方式。
下面,我们以 demo 模块为例子,讲解如何接入退款。
1. 第一步,创建支付订单
① 如果你是看支付宝退款接入,则需要先看完 《支付宝支付接入》 文档
② 如果你是看微信退款接入,则需要先看完 《微信小程序支付接入》 或 《微信公众号支付接入》 文档
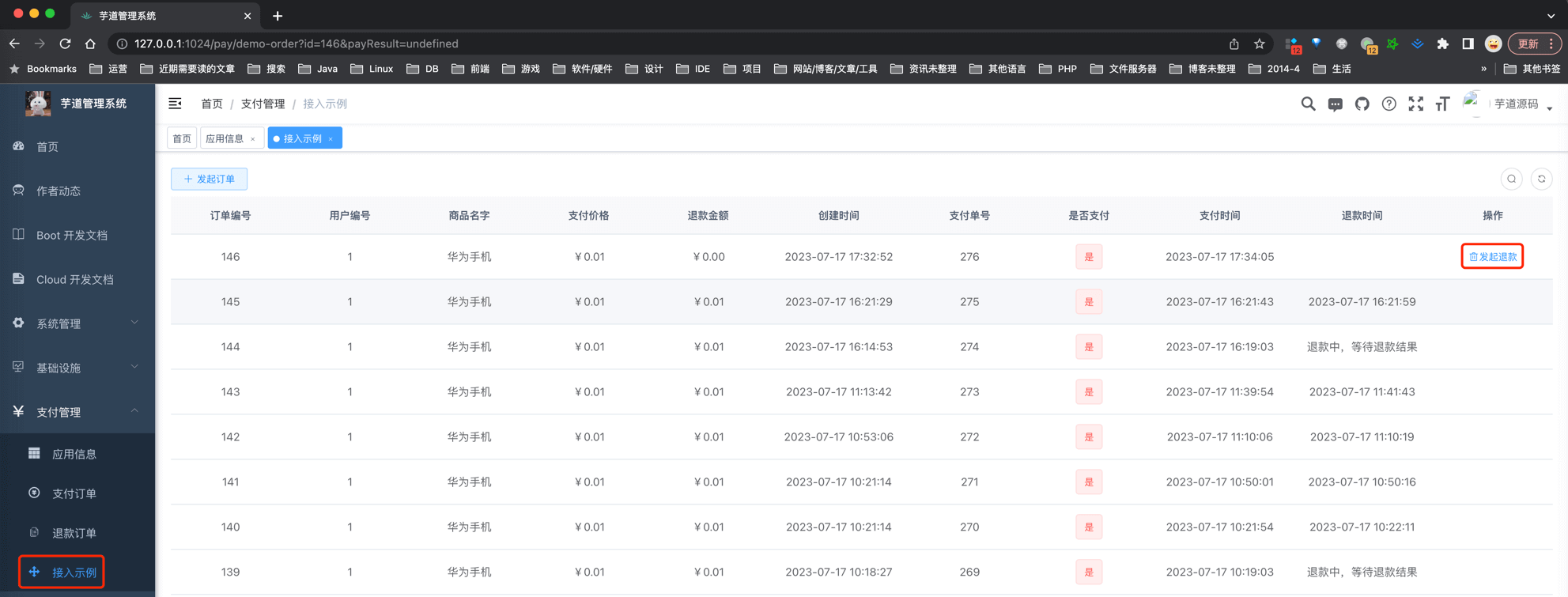
③ 然后,我们在 [支付管理 -> 支付&退款案例] 菜单,可以看到一个可以“发起退款”的订单。如下图所示:

2. 第二步,实现退款调用【重要】
友情提示:由于 demo 模块的退款接入已经实现,这里你只要看懂什么意思即可,不用操作。
① 【后端】在 demo 模块所在的 yudao-module-xx 模块的 pom.xml 文件,引入 yudao-module-pay 依赖,这样才可以调用到 PayOrderApi 接口。代码如下:
<dependency>
<groupId>cn.iocoder.boot</groupId>
<artifactId>yudao-module-pay</artifactId>
<version>${revision}</version>
</dependency>
② 【后端】在 demo 模块的退款逻辑中,需要调用 PayRefundApi 的 #createRefund(...) 方法,创建退款单。如下图所示:

3. 第三步,实现回调接口【重要】
友情提示:由于 demo 模块的退款接入已经实现,这里你只要看懂什么意思即可,不用操作。
在 demo 模块所在的 yudao-module-xx 模块,实现一个支付回调的接口,提供给支付【中心】回调。对应的代码在 PayDemoOrderController 的 #updateDemoOrderRefunded(...) 方法中,如下图所示:

4. 第四步,退款功能测试
至此,我们已经完成了退款接入的所有步骤,接下来,我们来测试一下退款功能。
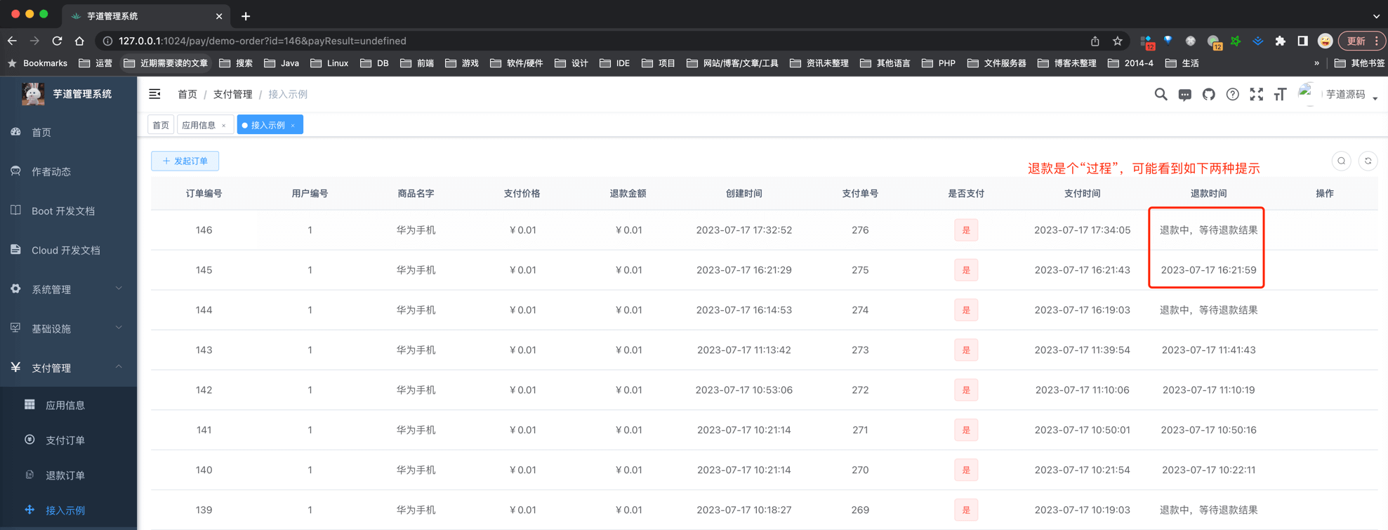
① 点击“发起退款”按钮,发起刚支付订单的退款流程。

此时,在 pay_refund 表中,会新增一条退款订单记录。
② 退款成功后,先是支付【中心】的回调接口被回调,然后是 demo 模块的回调接口被回调。如下图所示:

注意
- 支付宝发起退款时,它是直接返回退款成功,所以它没有支付【中心】 PayNotifyController 的异步回调,只有
demo模块的回调接口被回调。 - 微信发起退款时,它是可能返回退款成功,也可能返回退款处理中。微信退款是有支付【中心】 PayNotifyController 的异步回调,也有
demo模块的回调接口被回调。
至此,我们已经完成退款接入的测试流程,可以试着多多 debug 调试整个流程,并不复杂噢。
📄 来源: https://doc.iocoder.cn/pay/refund-demo/🕒 爬取时间: 2025-09-26 14:59:57